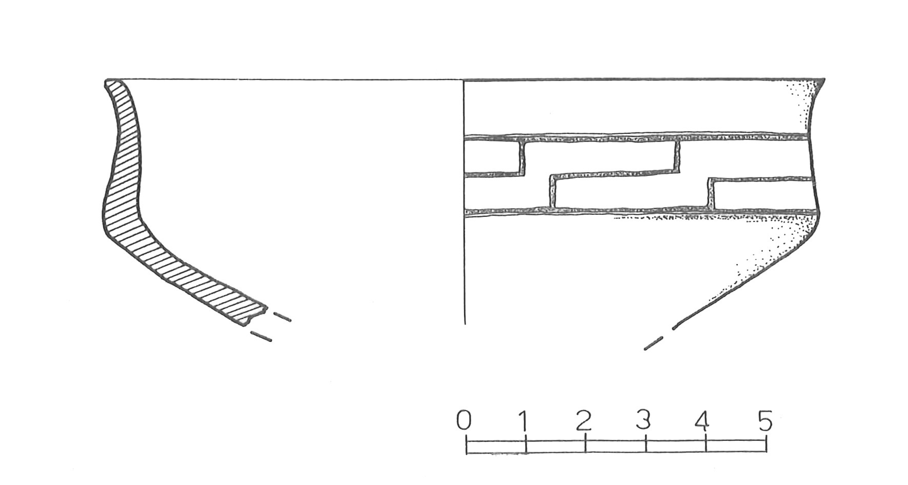
ciotola carenata
Cingoli,
età del bronzo recente
Esterno: sopra la carena motivo continuo a meandro a scala; a incisione
- OGGETTO ciotola carenata
-
MATERIA E TECNICA
impasto semidepurato/ lisciatura a stecca
-
MISURE
Diametro: 12.0 cm
Altezza: 4.1 cm
-
CLASSIFICAZIONE
ceramica di impasto
- AMBITO CULTURALE Subappenninico
- LUOGO DI CONSERVAZIONE Museo Archeologico Statale di Cingoli
- LOCALIZZAZIONE Palazzo comunale
- INDIRIZZO Piazza Vittorio Emanuele II, 25, Cingoli (MC)
- TIPOLOGIA SCHEDA Reperti archeologici
- LUOGO DI REPERIMENTO Cingoli (MC)
- SPECIFICHE DI REPERIMENTO insediamento preistorico/ q. BB 16a/ US 193b
-
CONDIZIONE GIURIDICA
proprietà Stato
- CODICE DI CATALOGO NAZIONALE 1100070215
- ENTE COMPETENTE PER LA TUTELA Museo Archeologico Statale di Cingoli
- ENTE SCHEDATORE Soprintendenza Archeologia delle Marche
- DATA DI COMPILAZIONE 1995
-
DOCUMENTAZIONE GRAFICA
sezione prospetto (1)
- LICENZA METADATI CC-BY 4.0